-
-
-
Tổng tiền thanh toán:
-

Hướng dẫn sử dụng máy hút chân không caso VC10
08/07/2019 Đăng bởi: Kinh doanhHướng dẫn sử dụng máy hút chân không caso VC10
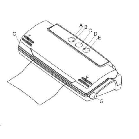
1. Giới thiệu về máy hút chân không caso VC10
A. Hàn niêm phong túi.
B. Đèn báo (Niêm phong) Cho biết hoạt động niêm phong.
C. Dừng.
D. Đèn báo (chân không) Cho biết hoạt động hút chân không.
E. Hút chân không.
F. Đóng nắp (có một công tắc áp suất ở bên phải và bên trái của nắp).
G. Mở nắp.
2. Cách sử dụng
Khi bạn mở thiết bị, bạn sẽ thấy Niêm phong thanh: Chứa một dây sưởi ấm được phủ Teflon; điều này cho phép niêm phong túi mà không dính.
► Thanh hàn của thiết bị rất nóng, không chạm vào nó khi đang sử dụng hoặc vừa sử dụng xong
► Để tránh bị bỏng, không chạm vào thanh hàn trong khi thiết bị đang hoạt động
Bước 1: Đặt thức ăn vào túi chuyên dụng đảm bảo rằng túi đã sạch sẽ, mép túi không còn dính nước và thức ăn dính lên
Nhấc nắp và đặt túi lên buồng hút chân không, vị trí của mép túi nằm giữa 2 vạch.
Bước 2: Đẩy nắp xuống ấn vào 2 nút F cho đến khi bạn nghe thấy 2 lần nhấp sau đó lựa chon hình thức hút chân không/hàn niêm phong, túi được tự động niêm phong và hút chân không nếu lựa chọn hình thức hút chân không (nút E). Nếu lựa chọn nút A máy chỉ thực hiện chức năng niêm phong túi.
Bước 3: Nhấn để mở khóa (sau khi hoàn thành quá trình hàn) các phím G
3. Một số lưu ý
Không để quá nhiều thức ăn trong túi; chừa đủ không gian để có chỗ niêm phong
Không làm ướt mặt của túi. Túi ướt rất khó niêm phong.
Làm sạch và làm mịn đầu mở của túi trước khi hàn.
Hãy chắc chắn rằng không có dư lượng thực phẩm và không có nếp nhăn ở mép túi. Túi nhàu nát có thể gây khó khăn khi hàn.
Không để quá nhiều không khí trong túi. Trước khi bạn hàn túi kín, nhấn không khí ra khỏi túi trước.
Nếu thực phẩm bạn muốn niêm phong kín khít có cạnh sắc, chẳng hạn như xương, mì spaghetti hoặc động vật giáp xác, hãy bọc thức ăn trong giấy để đảm bảo túi không bị rách.
Mẹo nhỏ: Cách sử dụng quạt sưởi an toàn trong mùa đông (16/02/2022)
Máy diệt khuẩn bàn chải Wilit UVC07 (16/02/2022)
Hướng dẫn sử dụng máy làm sữa chua Steba JM2 (23/07/2021)
Mẹo sử dụng quạt điều hòa đúng cách, an toàn, tiết kiệm điện (20/07/2021)
Hướng dẫn sử dụng Máy xay cầm tay CASO Stabmixer HB 800 (08/05/2021)
Hướng dẫn sử dụng Bàn là hơi nước cầm tay TEFAL DR 8085 (06/05/2020)